NOTICE
NOTICE

KAC공항서비스(주), 조류충돌 예방장치 특허 출원
- 소음에 따른 민원 발생 최소화 및 장치의 내구성 향상 -


KAC공항서비스(주)가 2022년 4월 8일 「조류충돌 예방장치」 특허 등록을 완료했다. 이는 KAC공항서비스(주) 강원지점(양양공항) 직원들이 버드렉스 주식회사와 함께 기존에 사용하던 조류퇴치 장치의 문제점을 분석 및 개선한 결과이다.
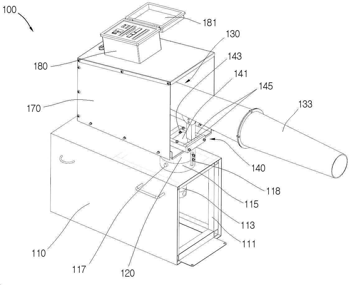
「조류충돌 예방장치」는 항공기의 안전을 위해 조류들이 공항 및 공항 주변 접근을 막는 장치이다. 이러한 퇴치 장비 중에서 강한 폭음을 발생시켜서 먼 거리에 있는 조류가 공항 주변으로 접근하지 못하게 하는 장비가 있는데, 이 경우 충격이 상당하여 장치의 고장 또는 파손으로 이어진다. 또한, 이러한 폭음이 주변 지역 소음피해로 이어져 민원을 야기하기도 한다.
이번 특허 기술인 「조류충돌 예방장치」는 폭음이 발생되는 어셈블리와 턴테이블 사이에 완충 유닛을 설치하여 장치의 충격을 완화하였다. 또한, 모터부에 의한 턴테이블 제어에 따라 발사 방향을 조절하여 주변 소음피해 지역 및 공항 터미널 구역 등의 소음 발생을 최소화함으로써 민원 발생 가능성을 낮출 수 있게 되었다.
KAC공항서비스(주) 김금렬 사장은 "이번 특허 출원은 회사 설립 후 최초의 특허 출원인 만큼 의미가 크다"며, "회사의 우수한 인력을 기반으로 앞으로도 최고의 안전, 최상의 고객 서비스 제공을 위해 다양한 노력을 기울일 것"이라고 밝혔다.
KAC공항서비스(주) 김경열 강원지점장은 "다양한 노력과 시도 끝에 직원들과 함께 특허 기술을 출원할 수 있었다"며, "앞으로도 직원들과 함께 합심하여 우리만의 기술과 노하우를 개발하여 공항운영서비스 대표 기관으로 자리매김하는 데 일조하겠다"고 말했다.